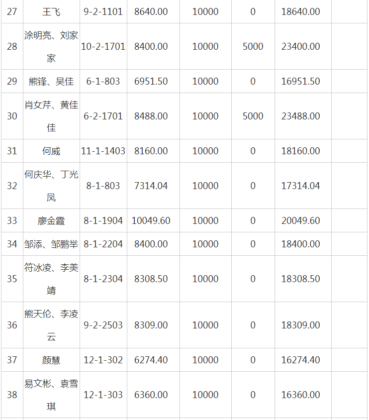
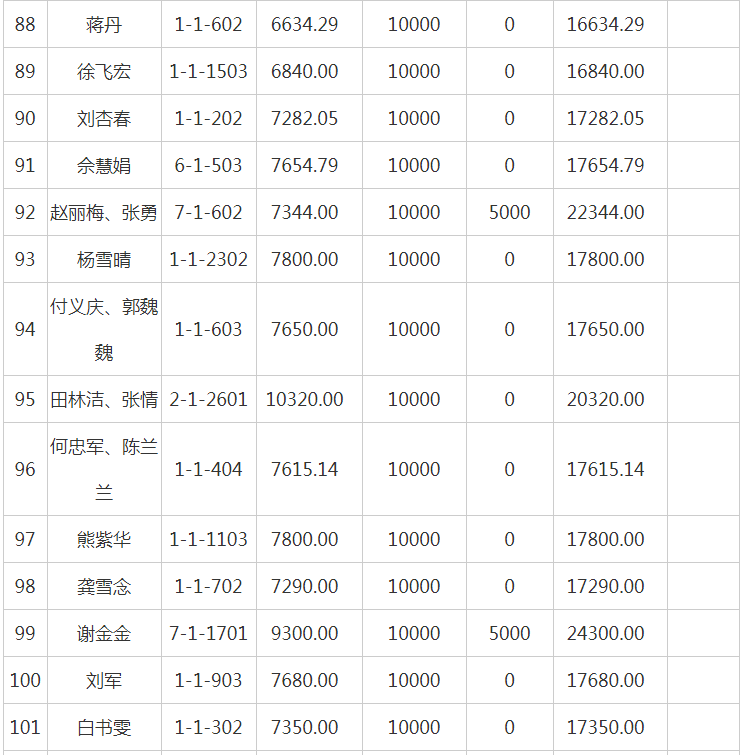
公示名单!共745户!潜江市第二批人将获得购房补贴
根据《潜江市促进房地产业持续健康发展的若干措施》(潜政发【2022】8号)文件精神,我市2022年度第二批审核后符合购房补贴发放条件的共有745户。现将名单予以公示,公示期为5个工作日。
在公示期限内,任何单位和个人对公示对象情况有异议,可向市住房和城乡建设局举报(联系电话0728-6291771)。
























































根据《潜江市促进房地产业持续健康发展的若干措施》(潜政发【2022】8号)文件精神,我市2022年度第二批审核后符合购房补贴发放条件的共有745户。现将名单予以公示,公示期为5个工作日。
在公示期限内,任何单位和个人对公示对象情况有异议,可向市住房和城乡建设局举报(联系电话0728-6291771)。

























































长按识别二维码